Bridge cranes are essential in industrial operations, but specialized environments demand custom solutions. Metallurgical, explosion-proof, and insulated bridge cranes are engineered for unique challenges. Metallurgical cranes handle extreme heat and heavy loads in metal processing, explosion-proof cranes ensure safety in volatile atmospheres, and insulated cranes prevent electrical hazards in electrolytic processes. This guide explores their functions, applications, and operational efficiencies.
Metallurgical Bridge Cranes
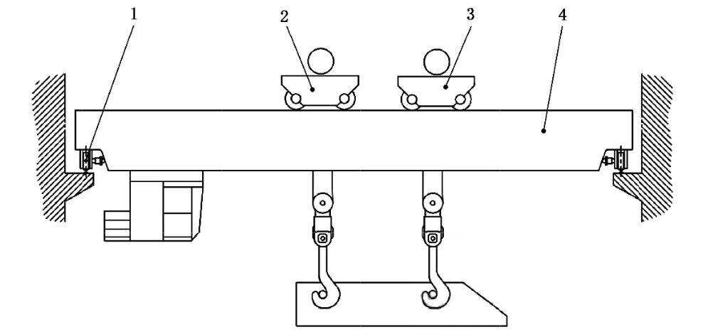
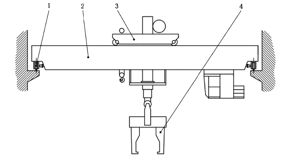
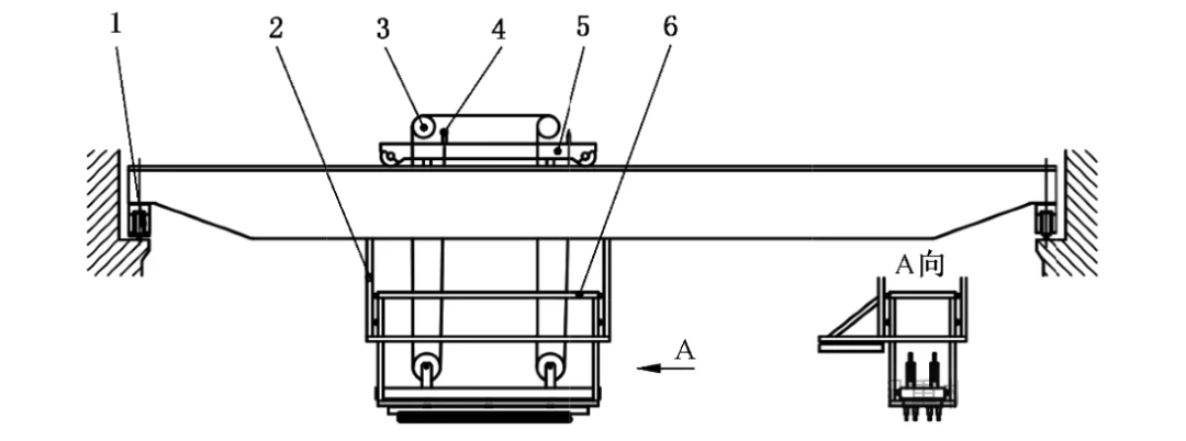
A metallurgical bridge crane (code: Q10402; standard: GB/T 14405-2011) is designed for metal smelting, casting, rolling, and hot processing. It integrates directly into production lines, withstanding high temperatures and corrosive environments. Key variants include:
Charging Crane (JB/T 7688.3-1995): Feeds materials into furnaces using buckets or troughs.
Forging Crane (JB/T 7688.3-2008): Lifts and flips heavy forgings with shock-absorbing mechanisms.
https://www.zehuacranes.com/Industrial-Overhead-Crane-for-Metallurgy.html

Slab Handling Crane (JB/T 7688.4-2013): Transfers slabs using clamps or electromagnetic discs.
https://www.zehuacranes.com/Clamps-Bridge-Crane-lifting-heavy-steel-plates.html
Ladle Crane (JB/T 7688.5-2012): Handles molten metal containers with precision.
https://www.zehuacranes.com/Clamps-Crane-YB-lifting-steel-slab.html


Quenching Crane (JB/T 7688.6-2008): Rapidly immerses hot workpieces into quenching fluids.
Claw Crane (JB/T 7688.7-2008): Moves billets with grapples or electromagnetic attachments.
https://www.zehuacranes.com/Rotary-Feeding-Crane-for-industrial-material-handling.html
Soaking Pit Crane (JB/T 7688.8-2015): Loads materials into soaking pits using specialized clamps.
How Does This Crane Work?
These cranes use heat-resistant components, reinforced structures, and precise controls to manage heavy, hot loads. For example, ladle cranes employ dual braking systems to prevent accidental spills.
How Can It Operate Efficiently?
Regular inspection of hoists and wires for wear.
Automated positioning to reduce human error.
Thermal monitoring to prevent component failure.
Explosion-Proof Bridge Cranes
An explosion-proof bridge crane (code: Q10403; standard: JB/T 5897-2014) operates safely in explosive gas or dust environments. It features spark-proof materials and enclosed electrical parts. A related type, the cleanroom bridge crane (JB/T 14201-2022), minimizes contamination in sterile settings like pharmaceutical labs.
How Does This Crane Work?
Explosion-proof cranes use sealed motors, non-sparking alloys, and pressurized enclosures to isolate ignition sources. Cleanroom cranes include smooth surfaces and HEPA filters to maintain air purity.
How Can It Operate Efficiently?
Conducting hazard assessments to classify zones.
Using frequency drives to control movement smoothly.
Implementing dust-proof maintenance protocols.
Insulated Bridge Cranes
An insulated bridge crane (code: Q10404; standard: JB/T 8907-2013) prevents electrical conduction in electrolytic facilities (e.g., aluminum, copper smelting). Key models include:
Pot Tendering Machine (PTM) (YS/T 7-2020): Services electrolytic cells in aluminum production.
https://www.zehuacranes.com/POT-Tending-Machine-Crane-for-Electrolytic-Aluminum.html

Furnace Tendering Assembly (FTA) (YS/T 10-2008): Handles anode baking and material transport.
https://www.zehuacranes.com/Anode-block-stacking-crane-in-operation.html

Anode Stacking Crane (ASC) (YS/T 9-2008): Stacks anode blocks using carbon clamps.
https://www.zehuacranes.com/Multi-Functional-Baking-Crane.html


Electrolytic Copper Crane (T/CPARK 17-2021): Inserts/removes cathode/anode plates from electrolytic tanks.
https://www.zehuacranes.com/Combined-Electrolytic-Copper-Lifter-Industrial-Use.html

How Does This Crane Work?
Insulated cranes feature non-conductive coatings, ceramic isolators, and grounded systems to block current flow. PTMs, for instance, use modular tools for tapping and anode changing.
How Can It Operate Efficiently?
Testing insulation resistance regularly.
Training operators to avoid accidental contact.
Automating repetitive tasks like anode handling.
HENAN ZEHUA HEAVY INDUSTRY EQUIPMENT CO., LTD
Email: sale@zehuacranes.com
Website: [https://www.zehuacranes.com/]
Whatsapp:86-19562739544